产品概述 
ZMAP、ZMAN型气动单座、双座调节阀,是由多弹簧气动薄膜执行机构和直通双导向式单座、双座阀组成,具有结构紧凑、重量轻、动作灵敏、压降损失小、阀容量大、流量特性精确,配用电-气阀门定位或气动阀门定位器,可实现对工艺管路流体介质的自动调节控制,广泛应用于精确控气体、液体、蒸汽等介质的工艺参数如压力、流量、温度、液位等参数保持在给定值。 
  
结构特点 
1.ZMAP、ZMAN型气动单座、双座调节阀是自动化控制系统中仪表的执行单元,采用电-气阀门定位器,以电信号和压缩空气为动力,接受控制系统输入的0-10mA •DC或4-20mA •DC电流信号,由调节器将压缩空气,转换成气源压力信号输入输出,可实现分程控制(段幅信号),从而改变阀门开度位移,达到对流体介质的工艺参数精确调节控制 
2.ZMAP、ZMAN型气动单座、双座调节阀按作用模式可分; 
正作用:气闭式-常开型(当信号压力增大时阀位向下位移),《B型》 
反作用:气开式-常闭型(当信号压力增大时阀位向上位移),《K型》 
3.ZMAP型气动单座调节阀为直通单座铸造球形阀,单座柱塞型阀芯,适用于允许泄漏小且阀前阀后压差不大的工作场合。 
4.ZMAN型气动双座调节阀为直通双座铸造球形阀,双座柱塞型阀芯,适用于压差大、流量大且不是很清洁的介质和泄漏要求不严格的场合 
5.ZMAP型气动单座调节阀为直通低流阻单座上、下双导向式结构,它只有一个阀座和一个柱塞形阀芯具有密闭性能好,适用于对介质泄漏量及调节精度有严格要求的场合,但由于阀结构上的原因,上下阀杆的不平衡力较大,尤其在公称通径大的工况下更为明显,因而该阀只适合于工作压差较小的场合。 
6.ZMAN型气动双座调节阀为直通低流阻双座上、下双导向式结构,阀芯在位移过程中稳定可靠,双座阀阀体内有两个阀芯阀座组成,流体介质通过上下阀芯阀座流出,具有流量大、允许压差大、不平衡力小,是一种平衡式结构双座阀。 
7.通过改变阀芯形状的设计;不同的阀芯形状会得到不同流量特性:等百分比(对数)性、直线性。 
本系列产品广泛应用于化工、石油、冶金、电站、轻纺、造纸和制药等工业生产过程的自动化调节和远程控制。 
有标准型、调节切断型、波纹管密封型、夹套保温型等品种。产品压力等级有PN1.6 4.0 6.4MPa;公称通径DN20~300mm;适用流体温度有-60~+450℃;按温度高低配用不同阀盖可分常温型、高温型和低温型。 
执行机构主要技术参数 
| 
 型     号  | 
 ZHA-22 ZHB-22  | 
 ZHA-23 ZHB-23  | 
 ZHB-34 ZHB-34  | 
 ZHA-45 ZHB-45  | 
 ZHA-56 ZHB-56  |  
| 
 有效面积cm2  | 
 350  | 
 350  | 
 560  | 
 900  | 
 1600  |  
| 
 行   程mm  | 
 16  | 
 25  | 
 40  | 
 60  | 
 100  |  
| 
 弹簧范围KPa  | 
 20~100(标准):40~200;80~240; 20~60; 60~100  |  
| 
 操作方式  | 
 普通型、带手动手轮操作型(侧装式、顶装式)  |   
电-气阀门定位器 
电气阀门定位器是工业自动化中气动执行器的主要配套仪表,可用来提高阀门位置的线性度、克服阀杆的磨擦力和消除调节阀不平衡力的影响等,从而保证阀门位置按调节仪表传来的0~10mA DC或4-20mA的电流信号成比例关系,实现正确定位。(有多种型号规格可选配) 
本公司电-气阀门定位器配用型(HEP-15隔爆型,HEP-17本安型)。也可按不同需求配用(ZPD2000系列、EP3000系列、EP4000系列、YT1000系列、YT2000系列、SIPART PS2西门子系列及智能定位器系列产品) 
 性能指标 
| 
 项目  | 
 指标值  | 
 项目  | 
 指标值  |  
| 
 基本误差%  | 
 不带定位器  | 
 ±5.0  | 
 始 终 点 偏 差 %  | 
 气关  | 
 不带定位器  | 
 始点  | 
 ±5.0  |  
| 
 带定位器  | 
 ±1.0  | 
 终点  | 
 ±2.5  |  
| 
 回差%  | 
 不带定位器  | 
 ≤3.0  | 
 带定位器  | 
 始点  | 
 ±1.0  |  
| 
 终点  | 
 ±1.0  |  
| 
 带定位器  | 
 ≤1.0  | 
 气开  | 
 不带定位器  | 
 始点  | 
 ±2.5  |  
| 
 终点  | 
 ±5.0  |  
| 
 死区%  | 
 不带定位器  | 
 ≤3.0  | 
 带定位器  | 
 始点  | 
 ±1.0  |  
| 
 终点  | 
 ±1.0  |  
| 
 带定位器  | 
 ≤0.4  | 
    |  
| 
 额定行程偏差%  | 
 ±2.5  |   
注:本产品执行GB/T4213-92国家标准。 
允许压差 MPa (ZMAP单座阀) 
| 
 供气压力 MPa   | 
 弹簧压力 KPa   | 
 公称通径  |  
| 
 20  | 
 25  | 
 32  | 
 40  | 
 50  | 
 65  | 
 80  | 
 100  | 
 125  | 
 150  | 
 200  | 
 250  | 
 300  |  
| 
 0.14  | 
 20-100  | 
 1.3  | 
 0.8  | 
 0.5  | 
 0.5  | 
 0.3  | 
 0.25  | 
 0.2  | 
 0.12  | 
 0.12  | 
 0.08  | 
 0.05  | 
 0.04  | 
 0.03  |  
| 
 0.24  | 
 40-200  | 
 3.1  | 
 1.8  | 
 1.2  | 
 1.1  | 
 0.7  | 
 0.65  | 
 0.45  | 
 0.28  | 
 0.28  | 
 0.2  | 
 0.1  | 
 0.1  | 
 0.06  |   
允许压差 MPa (ZMAN双座阀) 
| 
 供气压力 MPa   | 
 弹簧压力 KPa   | 
 公称通径  |  
| 
 25  | 
 32  | 
 40  | 
 50  | 
 65  | 
 80  | 
 100  | 
 125  | 
 150  | 
 200  | 
 250  | 
 300  |  
| 
 0.14  | 
 20-100  | 
 5.4  | 
 4.4  | 
 4.9  | 
 3.8  | 
 4.7  | 
 3.6  | 
 2.8  | 
 3.75  | 
 2.7  | 
 2.15  | 
 2.0  | 
 1.7  |  
| 
 0.24  | 
 40-200  | 
 10.8  | 
 8.8  | 
 9.8  | 
 7.6  | 
 9.4  | 
 7.2  | 
 5.6  | 
 7.5  | 
 5.4  | 
 4.3  | 
 4.0  | 
 3.4  |   
注:使用条件为阀芯在介质流出端关闭时P2=0状态下。 
  
主要零件材料及适用温度、介质 
| 
  公称通径mm  | 
 DN15-DN300  |  
| 
 材料代号  | 
 C(WCB)  | 
 P(304)  | 
 R(316)  |  
| 
   
  
  
主要 
零件  | 
 阀体、阀盖  | 
 WCB(ZG230-450)  | 
 ZG1Cr18Ni9Ti(304)  | 
 ZG1Cr18Ni12Mo2Ti(304)  |  
| 
 阀芯、阀座  | 
 1Cr18Ni9Ti(304)或司钛莱合金堆焊  | 
 1Cr18Ni9Ti(304)或司钛莱合金堆焊  | 
 1Cr18Ni12Mo2Ti或司钛莱合金堆焊  |  
| 
 阀杆  | 
 2Cr13  | 
 1Cr18Ni9Ti  | 
 1Cr18Ni12Mo2Ti  |  
| 
 填料  | 
 V型聚四氟乙烯(F4)、柔性石墨、不锈钢波纹管  |  
| 
 垫片  | 
 增强聚四氟乙烯 (F4)、不锈钢垫片、金属石墨缠绕垫片  |  
| 
 上下膜盖  | 
 A3钢板冲压  |  
| 
 波纺膜片  | 
 丁晴橡胶夹增强涤沦织物  |  
| 
 弹簧  | 
 60Si2Mn  |  
| 
 推杆、衬套  | 
 2Cr13  |  
| 
 轴套  | 
 聚氨酯(用于反作用)  |  
| 
   
适用 
工况  | 
 适用介质  | 
 水蒸汽油品类气液体  | 
 硝酸碱类腐蚀性气液体  | 
 醋酸类等腐蚀性气液体  |  
| 
 常温型  | 
 -30~+250  F4:≤200℃  | 
 -40~+250  F4:≤200℃  | 
 -40~+250℃ F4:≤200℃  |  
| 
 高温型  | 
 -30~+450℃  | 
 -40~+550℃  | 
 -40~+550℃  |  
| 
 低温型  | 
    | 
 -40~-60℃、 -60~-100℃  |   
  
  
  
  
  
  
  
  
  
  
  
  
  
  
  
  
  
  
  
  
流量特性示图 
| 
 公称通径mm  | 
 20  | 
 25  | 
 32  | 
 40  | 
 50  | 
 65  | 
 80  | 
 100  | 
 125  | 
 150  | 
 200  | 
 250  | 
 300  |  
| 
 阀座直径mm  | 
 10  | 
 12  | 
 15  | 
 20  | 
 25  | 
 32  | 
 40  | 
 50  | 
 65  | 
 80  | 
 100  | 
 125  | 
 150  | 
 200  | 
 250  | 
 300  |  
| 
 额定流量 系数Kv  | 
 单座  | 
 1.2  | 
 2.0  | 
 3.2  | 
 5.0  | 
 8  | 
 12  | 
 20  | 
 32  | 
 50  | 
 80  | 
 120  | 
 200  | 
 280  | 
 450  | 
 700  | 
 1100  |  
| 
 双座  | 
    | 
    | 
    | 
    | 
 10  | 
 16  | 
 25  | 
 40  | 
 63  | 
 100  | 
 160  | 
 250  | 
 400  | 
 630  | 
 1000  | 
 1600  |  
| 
 额定行程L(mm)  | 
 10  | 
 16  | 
 25  | 
 40  | 
 60  | 
 100  |  
| 
 执行器型号  | 
 ZHA/B-11  | 
 ZHA/B-22  | 
 ZHA/B-23  | 
 ZHA/B-34  | 
 ZHA/B-45  | 
 ZHA/B-56  |  
| 
 薄膜有效面积Ae(cm2)  | 
 220  | 
 350  | 
 350  | 
 560  | 
 900  | 
 1600  |  
| 
 气源压力Ps(MPa)  | 
 0.14~0.4  |  
| 
 信号范围Pr(KPa)  | 
 20~100、40~200、80~240   段幅:20~60、60~100  |  
| 
 电信号  | 
 4~20mA DC或0~10mA DC   (切断型:电磁阀AC220V或DC24V)  |  
| 
 作用模式  | 
 气开式(K)型、气关式(B)型  |  
| 
 流量特性  | 
 直线、等百分比、快开性  |  
| 
 允许泄漏量(L/h)  | 
 单座:10-4×阀额定容量、   双座:10-3×阀额定容量  |  
| 
 固有可调比R  | 
 50:1  |  
| 
 气源接头  | 
 M16×1.5  |  
| 
 公称压力PN(MPa)  | 
 1.6   2.5   4.0   6.4  |   
产品应用规范 
 性能GB/T4213-92、JB/T57218-94 结构长度GB/T12221-05   材料:GB/T12228~12230 
法兰连接:JB/T79-94 GB/T9113 
符合:IEC60534标准 
  
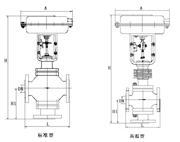
外形尺寸 
| 
 公通径(mm)  | 
 20  | 
 25  | 
 32  | 
 40  | 
 50  | 
 65  | 
 80  | 
 100  | 
 125  | 
 150  | 
 200  | 
 250  | 
 300  |  
| 
 L(mm)  | 
 PN1.6MPa  | 
 180  | 
 185  | 
 200  | 
 220  | 
 250  | 
 275  | 
 305  | 
 350  | 
 410  | 
 450  | 
 550  | 
 670  | 
 770  |  
| 
 PN4.0MPa  | 
 185  | 
 190  | 
 210  | 
 230  | 
 255  | 
 285  | 
 310  | 
 355  | 
 425  | 
 460  | 
 560  | 
 690  | 
 800  |  
| 
 PN6.4MPa  | 
 190  | 
 200  | 
 220  | 
 240  | 
 265  | 
 295  | 
 320  | 
 370  | 
 440  | 
 475  | 
 570  | 
 752  | 
 820  |  
| 
 H1(mm)  | 
 单座  | 
 60  | 
 115  | 
 120  | 
 130  | 
 145  | 
 180  | 
 195  | 
 200  | 
 245  | 
 255  | 
 295  | 
 380  | 
 435  |  
| 
 H1(mm)  | 
 双座  | 
    | 
 117  | 
  120  | 
 140  | 
 145  | 
 190  | 
 210  | 
 220  | 
 270  | 
  280  | 
 320  | 
 450  | 
 465  |  
| 
 H(mm)≈  | 
 单座  | 
 普通型  | 
 560  | 
 567  | 
 579  | 
 625  | 
 655  | 
 802  | 
 820  | 
 828  | 
 1054  | 
 1079  | 
 1145  | 
 1518  | 
 1660  |  
| 
 散热片型  | 
 710  | 
 720  | 
 730  | 
 790  | 
 820  | 
 985  | 
 1000  | 
 1020  | 
 1255  | 
 1280  | 
 1350  | 
 1770  | 
 1920  |  
| 
 双座  | 
 普通型  | 
    | 
 575  | 
 585  | 
 643  | 
 655  | 
 822  | 
 855  | 
 877  | 
 1105  | 
 1130  | 
 1195  | 
 1638  | 
 1758  |  
| 
 散热片型  | 
    | 
 730  | 
 740  | 
 800  | 
 825  | 
 1005  | 
 1035  | 
 1057  | 
 1310  | 
 1330  | 
 1400  | 
 1840  | 
 2008  |  
| 
 D(mm)  | 
 285  | 
 360  | 
 470  | 
 620  |     |